Workerman类似一个PHP版本的nginx,核心也是多进程+Epoll+非阻塞IO
1、Worker概念说明
Worker是WorkerMan中最基本的容器,其相当于是对外开放的网络服务。Worker可以开启多个进程监听端口并使用特定协议通讯,类似nginx监听某个端口。每个Worker进程独立运作,采用Epoll(需要装event扩展)+非阻塞IO,每个Worker进程都能上万的客户端连接,并处理这些连接上发来的数据
2、进程管理
Workerman采用master+worker的进程模型方式,进行代码运行
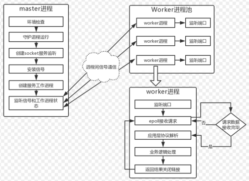
master(主进程)
负责监控工作进程,不负责接收数据和不进行任何业务逻辑处理
worker(某个服务下的工作进程)
监听端口并使用特定协议通讯,处理客户端请求
3、主进程与工作进程的关系
4、运行方式
常驻内存,本身不依赖apache/nginx/php-fpm,没有容器到PHP的通讯开销,没有每个请求初始化一切又销毁一切的开销,具有超高的性能,比起传统的MVC框架,性能要高数十倍。
备注: 由于是常驻内存,因此修改代码后,需要重启才能生效
点击查看更多内容
1人点赞
评论
共同学习,写下你的评论
评论加载中...
作者其他优质文章
正在加载中
感谢您的支持,我会继续努力的~
扫码打赏,你说多少就多少
赞赏金额会直接到老师账户
支付方式
打开微信扫一扫,即可进行扫码打赏哦
