SpringBoot实战电商项目mall(20k+star)地址:https://github.com/macrozheng/mall
摘要
本文主要对订单及订单设置功能的表进行解析,采用数据库表与功能对照的形式。
订单
相关表结构
订单表
订单表,需要注意的是订单状态:0->待付款;1->待发货;2->已发货;3->已完成;4->已关闭;5->无效订单。
create table oms_order
(
id bigint not null auto_increment comment '订单id',
member_id bigint not null comment '会员id',
coupon_id bigint comment '优惠券id',
order_sn varchar(64) comment '订单编号',
create_time datetime comment '提交时间',
member_username varchar(64) comment '用户帐号',
total_amount decimal(10,2) comment '订单总金额',
pay_amount decimal(10,2) comment '应付金额(实际支付金额)',
freight_amount decimal(10,2) comment '运费金额',
promotion_amount decimal(10,2) comment '促销优化金额(促销价、满减、阶梯价)',
integration_amount decimal(10,2) comment '积分抵扣金额',
coupon_amount decimal(10,2) comment '优惠券抵扣金额',
discount_amount decimal(10,2) comment '管理员后台调整订单使用的折扣金额',
pay_type int(1) comment '支付方式:0->未支付;1->支付宝;2->微信',
source_type int(1) comment '订单来源:0->PC订单;1->app订单',
status int(1) comment '订单状态:0->待付款;1->待发货;2->已发货;3->已完成;4->已关闭;5->无效订单',
order_type int(1) comment '订单类型:0->正常订单;1->秒杀订单',
delivery_company varchar(64) comment '物流公司(配送方式)',
delivery_sn varchar(64) comment '物流单号',
auto_confirm_day int comment '自动确认时间(天)',
integration int comment '可以获得的积分',
growth int comment '可以活动的成长值',
promotion_info varchar(100) comment '活动信息',
bill_type int(1) comment '发票类型:0->不开发票;1->电子发票;2->纸质发票',
bill_header varchar(200) comment '发票抬头',
bill_content varchar(200) comment '发票内容',
bill_receiver_phone varchar(32) comment '收票人电话',
bill_receiver_email varchar(64) comment '收票人邮箱',
receiver_name varchar(100) not null comment '收货人姓名',
receiver_phone varchar(32) not null comment '收货人电话',
receiver_post_code varchar(32) comment '收货人邮编',
receiver_province varchar(32) comment '省份/直辖市',
receiver_city varchar(32) comment '城市',
receiver_region varchar(32) comment '区',
receiver_detail_address varchar(200) comment '详细地址',
note varchar(500) comment '订单备注',
confirm_status int(1) comment '确认收货状态:0->未确认;1->已确认',
delete_status int(1) not null default 0 comment '删除状态:0->未删除;1->已删除',
use_integration int comment '下单时使用的积分',
payment_time datetime comment '支付时间',
delivery_time datetime comment '发货时间',
receive_time datetime comment '确认收货时间',
comment_time datetime comment '评价时间',
modify_time datetime comment '修改时间',
primary key (id)
);
订单商品信息表
订单中包含的商品信息,一个订单中会有多个订单商品信息。
create table oms_order_item
(
id bigint not null auto_increment, order_id bigint comment '订单id',
order_sn varchar(64) comment '订单编号',
product_id bigint comment '商品id',
product_pic varchar(500) comment '商品图片',
product_name varchar(200) comment '商品名称',
product_brand varchar(200) comment '商品品牌',
product_sn varchar(64) comment '商品条码',
product_price decimal(10,2) comment '销售价格',
product_quantity int comment '购买数量',
product_sku_id bigint comment '商品sku编号',
product_sku_code varchar(50) comment '商品sku条码',
product_category_id bigint comment '商品分类id',
sp1 varchar(100) comment '商品的销售属性1',
sp2 varchar(100) comment '商品的销售属性2',
sp3 varchar(100) comment '商品的销售属性3',
promotion_name varchar(200) comment '商品促销名称',
promotion_amount decimal(10,2) comment '商品促销分解金额',
coupon_amount decimal(10,2) comment '优惠券优惠分解金额',
integration_amount decimal(10,2) comment '积分优惠分解金额',
real_amount decimal(10,2) comment '该商品经过优惠后的分解金额',
gift_integration int not null default 0 comment '商品赠送积分',
gift_growth int not null default 0 comment '商品赠送成长值',
product_attr varchar(500) comment '商品销售属性:[{"key":"颜色","value":"颜色"},{"key":"容量","value":"4G"}]',
primary key (id)
);
订单操作记录表
当订单状态发生改变时,用于记录订单的操作信息。
create table oms_order_operate_history
(
id bigint not null auto_increment, order_id bigint comment '订单id',
operate_man varchar(100) comment '操作人:用户;系统;后台管理员',
create_time datetime comment '操作时间',
order_status int(1) comment '订单状态:0->待付款;1->待发货;2->已发货;3->已完成;4->已关闭;5->无效订单',
note varchar(500) comment '备注',
primary key (id)
);
管理端展现
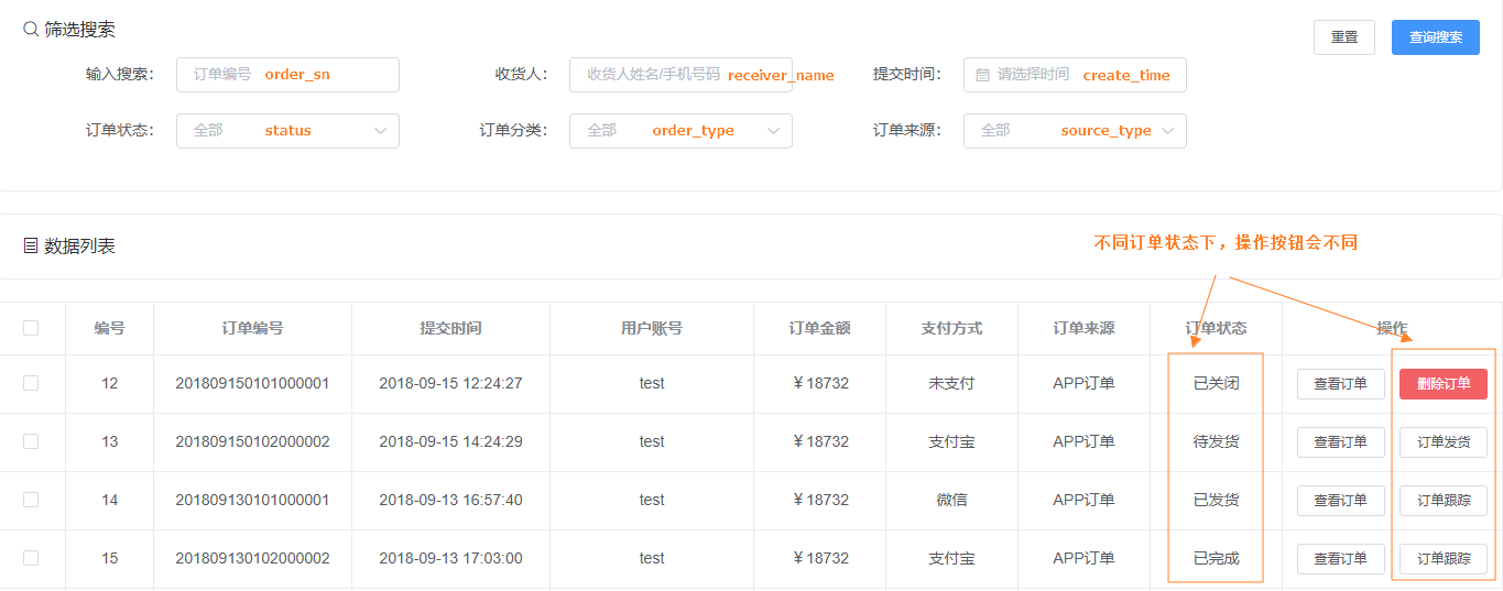
订单列表
查看订单
订单发货
移动端展现
不同状态下的订单
订单详情
订单设置
相关表结构
订单设置表
用于对订单的一些超时操作进行设置。
create table oms_order_setting
(
id bigint not null auto_increment, flash_order_overtime int comment '秒杀订单超时关闭时间(分)',
normal_order_overtime int comment '正常订单超时时间(分)',
confirm_overtime int comment '发货后自动确认收货时间(天)',
finish_overtime int comment '自动完成交易时间,不能申请售后(天)',
comment_overtime int comment '订单完成后自动好评时间(天)',
primary key (id)
);
管理端展现
关于作者
macrozheng 【id:macrozheng】
专注Java技术分享,mall项目全套学习教程连载中,作者Github项目mall(20k+star)
点击查看更多内容
为 TA 点赞
评论
共同学习,写下你的评论
评论加载中...
作者其他优质文章
正在加载中
感谢您的支持,我会继续努力的~
扫码打赏,你说多少就多少
赞赏金额会直接到老师账户
支付方式
打开微信扫一扫,即可进行扫码打赏哦










