本栏目Java开发岗高频面试题主要出自以下各技术栈:Java基础知识、集合容器、并发编程、JVM、Spring全家桶、MyBatis等ORMapping框架、MySQL数据库、Redis缓存、RabbitMQ消息队列、Linux操作技巧等。
面试题1:你一般怎么修改Linux目录、文件权限?
修改文件、目录一般会使用chmod,利用 ·chmod 可以控制文件如何被他人所调用。另外,当确定了一个文件的访问权限后,用户可以利用Linux系统提供的chmod 命令来重新设定不同的访问权限。也可以利用chown 命令来更改某个文件或目录的所有者。利用chgrp 命令来更改某个文件或目录的用户组。
Linux/Unix 的文件调用权限分为三级 :
文件所有者(Owner)
用户组(Group)
其它用户(Other Users)
chmod(change mode)命令:是控制用户对文件的权限的命令。
# 语法:
chmod [-cfvR] [--help] [--version] mode file...
# 简化:
chmod mode files
其中mode可以通过字符串形式或数字形式设定
字符串形式配置:
mode写法:[ugoa][+-=][rwx]
[ugoa]表示:
u(owner)表示文件所有者,即创建文件的人
g(group):表示和文件所有者相同组的用户
o(other):表示非文件所有者和相同group的用户
a(all):表示所有用户
[+-=]表示:
+:表示给指定的用户授权指定的权限
-: 表示撤销指定用户的某个权限
=: 将指定用户的指定权限重新设置
[rwx]表示:
r:可读权限
w:可写权限
x:可执行权限
通过[ugoa][+-=][rwx]拼接配置文件、目录的访问权限。下面就以陈哈哈的小秘密.txt文件为例,来看一下:
数字形式配置:
相信这是我们最常见的赋权方式:chmod -R 777 /home/csj/xiaomimi.txt
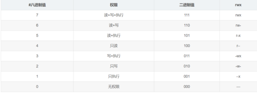
chmod可以使用八进制数来指定权限,无需再使用指定的权限和用户的字母来进行标识,通过读写执行等3个权限的数字来进行设置
r(读)的权限的数字为4。
w(写)的权限的数字为2。
x(执行)的权限数字为1。
所以7表示的赋权的用户有读写执行权限,最大的权限,下面是对照表。
如下,给xiaomimi.txt文件赋予了所有人可执行权限
面试题2:kill -9 和kill的区别
kill 和 kill -9 是常用的命令,都可以用来杀死进程。
kill
kill命令默认的信号就是15,也就是 kill -15 ,被称为优雅的退出。
当使用kill -15时,系统会发送一个SIGTERM的信号给对应的程序。当程序接收到该信号后,具体要如何处理由程序自己来决定。
应用程序的选择有三种:
立即停止程序
释放响应资源后停止程序
忽略该信号,继续执行程序
因为kill -15信号只是通知对应的进程要进行"安全、干净的退出"。
程序接到信号之后,退出前一般会进行一些准备工作,如资源释放、临时文件清理等等,如果准备工作做完了,再进行程序的终止。但是,如果在准备工作进行过程中,遇到阻塞或者其他问题导致无法成功,那么应用程序可以选择忽略该终止信号。
这也就是为什么我们有的时候使用kill命令是没办法"杀死"应用的原因,因为默认的kill信号是SIGTERM(15),而SIGTERM(15)的信号是可以被阻塞和忽略的。
大部分程序接收到SIGTERM信号后,会先释放自己的资源,然后在停止。但是也有程序可以在接受到信号量后,先做一些善后的事情如关闭资源或记录日志等,并且这些事情是可以配置的。
kill -9
我们在处理java项目或程序时经常会遇到kill不掉或几十秒后才退出的情况,换做我能给他等会儿,换做同事侨总的暴脾气就忍不了了,每次都直接kill -9。
采访侨总时他表示他只知道kill -9这命令,我竖起大拇指微微一笑,转身把录音发给项目经理,深藏功与名~
所以,相比于kill命令,kill -9在执行时,应用程序是没有时间进行准备工作的,立即杀掉程序,所以这通常会带来一些副作用,如数据丢失或者终端无法恢复到正常状态等
面试题3:你用Linux一般怎么在后台运行程序?
Linux如何在后台跑程序?是刚接触Linux的同学都会遇到的问题。大家使用Linux操作系统时,或许都遇到过以下类似场景。
场景1:我用xshell通过 telnet/ssh 远程登录服务器,跑脚本或执行一些耗时较长的任务,有时会因为网络不稳定或手贱等原因断开我的控制终端(如:xshell、sourceCRT)的远程连接状态,导致花费大量时间执行的程序又要重新跑;真难受!
场景2:我需要长时间稳定的跑脚本,希望能在Linux后台跑,关掉xshell也没事,且随时可以回来看输出信息或操作。
应对方式:1、nohup 命令 & 2、screen
我们知道,当用户注销(logout)或者网络断开时,终端会收到 HUP(hangup)信号从而关闭其所有子进程(包括sshd及其子进程)。
因此,我们的解决办法就有两种途径(对应以下两种方式):
让进程忽略 HUP 信号;
让进程运行在新的会话里从而成为不属于此终端的子进程。
方式一:nohup 命令 &
nohup 是我们最常用的办法。顾名思义,nohup 就是让提交的命令忽略 hangup 信号。从而当ssh连接状态断开时,不会被系统中断掉。nohup 在使用上十分方便,只需在要处理的命令前加上 nohup 即可,标准输出和标准错误缺省会被重定向到 nohup.out 文件中。一般我们可在结尾加上 & 表示将命令放入后台运行。
比如我们测试在后台执行 ping www.baidu.com 命令,如下即可:
nohup ping www.baidu.com &
同时,会在输入命令的目录下生成一个nohup.log日志文件(如已有该文件则继续使用)
当然,也可加上 >filename 2>&1 来自行更改日志输出的目录及文件filename。如下:
nohup ping www.baidu.com > /home/myout.log 2>&1 &
方式二:screen
我们认为Screen是目前最实用的Linux后台运行工具之一。简单的说,screen 提供了 ANSI/VT100 的终端模拟器,使它能够在一个真实终端下运行多个全屏的伪终端,每个伪终端我们称之为一个session。
相当于我们可以用xshell打开多个连接(session),不用时可以将这些连接置为离线状态 - Detached,离线状态下session中的程序会正常运行,也就是后台运行,并随时可以恢复继续使用,恢复使用时为Attached在线状态,说明有人正在使用。
如何使用screen
上图是screen的session列表,图中Attached代表有其他终端正在使用这个session,Detached说明session处于离线状态,
下面一起来看一下我们使用Screen时,常用的一些命令:
screen -S name -> 创建一个名为:name 的session(伪终端)
screen -R name -> 先试图恢复离线的session。若找不到离线的,即建立新的session(伪终端)
screen -ls -> 列出所有已经存在的session
ctrl + a + d -> 退出当前的session
screen -d name -> 将指定的session作业离线。
screen -d -r name -> 离线当前session,恢复并回到name这个session
kill (session进程号) -> 杀掉某个session进程
实际操作流程示例:
1、创建一个名称为“chh”的session。
# 创建方式一screen -S chh# 创建方式二screen -R chh1234
2、创建后会自动进入session,进行相关操作。
3、通过ctrl + a + d退出当前session,使其后台(离线)运行
4、screen -ls 查看session列表
5、通过screen -r chh 或screen -r 9043(进程号)登录离线session
6、杀掉“chh”这个session
kill 9043(进程号)
screen 工具需安装,想了解详情的同学请参考另一篇《Linux后台运行程序最实用的两种方式》
每日小结
今天我们复习了面试中常问的几个Linux操作相关的问题,你做到心中有数了么?对了,如果你的朋友也在准备面试,请将这个系列扔给他,如果他认真对待,肯定会感谢你的!!好了,今天就到这里,学废了的同学,记得在评论区留言:打卡。,给同学们以激励。
————————————————
版权声明:本文为CSDN博主「_陈哈哈」的原创文章,遵循CC 4.0 BY-SA版权协议,转载请附上原文出处链接及本声明。
原文链接:https://blog.csdn.net/qq_39390545/article/details/118548929
共同学习,写下你的评论
评论加载中...
作者其他优质文章









