课程名称:Java架构师-十项全能
课程章节:事务隔离级别
课程讲师:大目
课程内容:
为什么要使用事务?
保障数据操作的安全性
事务的ACID
原子性(Atomicity):事务是一个不可再分割的工作单位,其中的操作要么都发生,要么都不发生
一致性(Consistency):事务在开始和结束时, 应该时钟满足一致性约束
隔离性(Isolation):事务的执行不会被其他事务干扰
持久性(Durability):事务一旦提交,对数据库的修改就会持久的保存在数据库中,不会被回滚
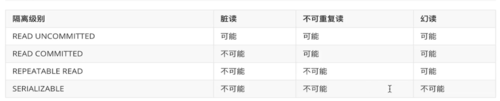
事务的隔离级别:
Read Uncommitted 读未提交, 事务能看到其他未提交事务的执行结果,隔离性差,性能和其他级别相比提升不大
Read Committed 读取提交内容,事务只能看到其他事务提交后的执行结果,(多数数据库的默认隔离级别)
Repeatable Read 可重复读,确保同一个事务中多次读取的结果相同,是Mysql数据库的默认隔离级别
Serializable 串行化,通过强制事务排序,使之不可能发生冲突,隔离级别最高,但是性能最差,使用最少




课程收获
了解事务的隔离级别,以及通过Mysql的隔离级别演示,充分体会数据库隔离级别的定义和原理。