前言
最近正在学鸿洋大大的刮刮奖,感觉学有所得,便是来写篇详解(尽管网上有很多了,不过毕竟是自己写的,自己以后方便复习),正文开始
目标
实现画板功能
思路
我们需要自定义View来实现画板功能,之后再将其稍微改造即可。
关于自定义View,如果没有了解的同学建议先去了解一下,百度自定义View就会有许多相关教程了,
我在这里也就简单的提一下,自定义View常用的三大类,Paint(画笔),Path(路径),
Canvas(画布),三大类方法介绍
继承View,实现构造方法
四个构造方法,我们主要实现两个参数的构造方法即可
private Paint mOutterPaint = new Paint(); // 绘制线条的Paint,即用户手指绘制Path private Path mPath = new Path();//记录用户绘制的Path private Canvas mCanvas;//画布,可以画东西 private Bitmap mBitmap;//画布在此图片上画画 private int mLastX;//x坐标 private int mLastY;//y坐标 private Bitmap background;//这个是背景图,我们先不理 public GuaGuaKa(Context context) { super(context); } public GuaGuaKa(Context context, @Nullable AttributeSet attrs) { super(context, attrs); mPath = new Path(); } public GuaGuaKa(Context context, @Nullable AttributeSet attrs, int defStyleAttr) { super(context, attrs, defStyleAttr); } public GuaGuaKa(Context context, @Nullable AttributeSet attrs, int defStyleAttr, int defStyleRes) { super(context, attrs, defStyleAttr, defStyleRes); }复写onMeasure方法
我们首先获得View的宽高,然后以此的宽高创建一个画布,同时,对画笔进行一些设置
@Override protected void onMeasure(int widthMeasureSpec, int heightMeasureSpec) { super.onMeasure(widthMeasureSpec, heightMeasureSpec); Log.d(TAG, "onMeasure: 测量"); int width = getMeasuredWidth(); int height = getMeasuredHeight(); // 初始化bitmap mBitmap = Bitmap.createBitmap(width, height, Bitmap.Config.ARGB_8888);//以获得的宽高创建一个32位的bitmap mCanvas = new Canvas(mBitmap);//以bitmap创建了一个画布 mCanvas.drawColor(Color.GREEN);//设置画布的颜色为绿色 //背景图,下一节解析此部分代码,先注释掉 /*BitmapDrawable bitmap = (BitmapDrawable) getResources().getDrawable(R.drawable.rewrite6); background = bitmap.getBitmap(); background = Bitmap.createScaledBitmap(background,width,height,true);*/ // 设置画笔 mOutterPaint.setColor(Color.BLUE); mOutterPaint.setAntiAlias(true);//使用抗锯齿功能,会消耗较大资源,绘制图形速度会变慢 mOutterPaint.setDither(true);//图像抖动处理,会使绘制出来的图片颜色更加平滑和饱满,图像更加清晰 mOutterPaint.setStyle(Paint.Style.STROKE); mOutterPaint.setStrokeJoin(Paint.Join.ROUND);//圆角,平滑 mOutterPaint.setStrokeCap(Paint.Cap.ROUND); //圆角 mOutterPaint.setStrokeWidth(20); // 设置画笔宽度 }复写onTouchEvent方法
我们在这里复写,处理一下用户的触摸事件当手指按到屏幕上的时候,Path路径之中就使用moveto方法,移动到手指当前位置,
invalidate刷新View,回调onDraw方法,(还没有画出来)。之后,手指移动,action处于是处于ACTION_MOVE的状态,Path路径使用lineto方法(画直线),同时,将x,y坐标进行了更新,invalidate刷新View,回调onDraw方法,canvas通过drawpath使用画笔将path画了出来,之后如果用户没有抬起手指,则继续循环ACTION_MOVE中的步骤@Override public boolean onTouchEvent(MotionEvent event) { //当手指按到屏幕上的时候,Path路径之中就使用moveto方法,移动到手指当前位置,invalidate刷新View,回调onDraw方法,(还没有画出来),canvas就将画笔移动到那个坐标 //之后,手指移动,action是处于ACTION_MOVE的状态,Path路径使用lineto方法(画直线), // 同时,将x,y坐标进行了更新,invalidate刷新View,回调onDraw方法,canvas通过drawpath使用画笔将path画了条出来(画直线),之后如果用户没有抬起手指,则继续循环ACTION_MOVE中的步骤 int action = event.getAction(); int x = (int) event.getX();//获得x坐标 int y = (int) event.getY();//获得y坐标 switch (action){ case MotionEvent.ACTION_DOWN: mLastX = x; mLastY = y; mPath.moveTo(mLastX, mLastY);//之后回调onDraw方法canvas将path break; case MotionEvent.ACTION_MOVE: mPath.lineTo(x, y);//之后回调onDraw方法时canvas画直线到(x,y)该点 mLastX = x;//更新x坐标 mLastY = y;//更新y坐标 break; default:break; } invalidate();//刷新View,回调onDraw方法 Log.d(TAG, "onTouchEvent: invalidate"); return true;}
复写onDraw方法
之后我们复写
onDraw方法,在这里canvas用画笔开始画画@Override protected void onDraw(Canvas canvas) { Log.d(TAG, "onDraw: 画"); //canvas.drawBitmap(background,0,0,null);//下一节解析,这里先注释掉 //mOutterPaint.setXfermode(new PorterDuffXfermode(PorterDuff.Mode.DST_OUT));//下一节解析,注释掉 mCanvas.drawPath(mPath, mOutterPaint);//mCanvas是我们定义的画布,用户的每次的手指轨迹都被path记录下来,之后mcanvas就使用画笔将用户的手指轨迹画了出来 canvas.drawBitmap(mBitmap, 0,0, null);//将mBitmap画出来 }
PS:这里测试的时候发现mCanvas与canvas的顺序可以换个位置,影响不大
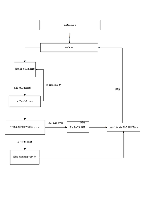
简单的流程图
补充 双缓冲技术
事实上,刮刮卡这个项目用到了双缓冲技术
双缓冲即在内存中创建一个与屏幕绘图区域一致的对象,先将图形绘制到内存中的这个对象上,再一次性将这个对象上的图形拷贝到屏幕上,这样能大大加快绘图的速度。
我们定义了一个mBitmap,之后使用这个MBitmap建立了一个画布,实际上我们的mCanvas只在mBitmap上画画
mBitmap = Bitmap.createBitmap(width, height, Bitmap.Config.ARGB_8888);//以获得的宽高创建一个32位的bitmap mCanvas = new Canvas(mBitmap);//以bitmap创建了一个画布 mCanvas.drawColor(Color.GREEN);
mCanvas负责将用户的手指痕迹通过drawpath方法画出来
mCanvas.drawPath(mPath, mOutterPaint);
之后,onDraw方法里面的canvas则将MBitmap复制并显示出来
canvas.drawBitmap(mBitmap, 0,0, null);//将mBitmap画出来(将MBitmap直接复制到View上显示)
原文出处:https://www.cnblogs.com/kexing/p/9501933.html
共同学习,写下你的评论
评论加载中...
作者其他优质文章

