java中的'\t'是什么意思?
2 回答
慕田峪9158850
TA贡献1794条经验 获得超8个赞
\t :横向制表(HT) (跳到下一个TAB位置)。
\t是补全当前字符串长度到8的整数倍,最少1个最多8个空格,补多少要看你\t前字符串长度。
比如当前字符串长度10,那么\t后长度是16,也就是补6个空格。
如果当前字符串长度12,此时\t后长度是16,补4个空格。
拓展资料:
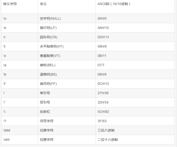
常用转义字符表
添加回答
举报
0/150
提交
取消

